As often is the case with these company bios, I rarely know the full story, so this is a working draft. (note, I have seen Bestop as BesTop and BESTOP, but I feel Bestop is easier to read for our purposes). If you have other interpretations, thoughts, or corrections, don’t hesitate to comment below.
Bestop Launches:
In the early 1950s, Tom Bradley ran an auto upholstery shop in Boulder, Colorado. After some customers came to him wanting repairs to their soft jeep tops, Tom decided he could build a better top, so he launched Bestop on a part-time basis in 1954. According to the Bestop website, “Working out of an old brick schoolhouse with seven employees, Bestop quickly developed a reputation for quality and the word spread.” And, from 4wd.com, “To [Tom’s] surprise, the Jeep replacement tops began making more profit than the upholstery projects. It wasn’t long before Bradley decided to sell his upholstery business and focus on designing and manufacturing tops.”
Here’s a look at some early brochures. Note the “Vinalette” top, an attempt at branding that didn’t last very long. These brochures are likely mid to late 1950s (these pics came from this eBay auction):
The Bestop site notes that the business continued to grow for ten years under Tom. At that point, the story on the company’s website advances to the mid-eighties, but skips additional history in the process.
Bestop Expands Product Line:
The only evidence I could find that Bestop expanded it’s produced line under Tom was this 1961 brochure introducing rear seats. The seats have a flat, simple design.
The Stengel’s Obtain Control:
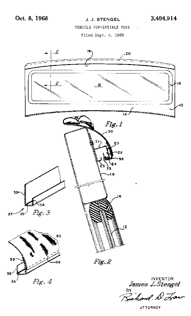
In September of 1966, forty-year-old James (Jim) Joseph Stengel filed a patent for a plastic tab that, when placed on the front edge of a soft top, allowed it to hook into the down-facing channel that is attached to most vintage 1/4 ton jeep windshields. This improved the speed at which a top could be mounted to a jeep. What Jim’s relationship to Bestop was at that point isn’t clear to me yet.
As of the 1966 patent filing, there was no assignment to any company, just to Jim himself. In the meantime, at some point between 1964 and 1968, Jim and his wife Marj acquired Bestop (from Tom?) and began operating it, as her obituary notes “Marj and Jim ran their business, Bestop Mfg., which grew to be a leading manufacturer of cloth “tops” for Jeeps and other recreational vehicles”.
One bit of evidence that the Stengels were connected to Bestop by 1966 was that Jim filed the above 1966 patent under the address “P.O. Box 318, Boulder, Colorado”, the same address that appears in this May 1968 brochure published by Bestop.
Two years later, in 1968, Bestop Manufacturing filed for a Trademark on the name Bestop, again under the same PO Box 318 address :
Now, this is where it becomes a little confusing. At some point in 1968, Bestop acquired or expanded into several lines of additional products and, around the same time period, Husky Products appears to have dropped a similar type of products.
Below is a visual comparison of a 1966 Husky brochure and the 1968 Bestop brochure. The first three pages of the Bestop brochure kind of look like reworked versions of the 1966 Husky brochure (it’s this comparison that started my dive into this topic). And, yes, I realize the tops are somewhat different, especially at the back (Husky continued to advertise the full top into the 1970s, but dropped advertising for the half tops, the multiple doors, and other items).

Columns 3 is the second half of the column 1 1966 Husky brochure. Column 4 is the second half of the column 2 1968 Bestop brochure.
As you read through some of columns 3 and 4 (more easily seen on Pacal’s site, again Husky here and Bestop here), you’ll find similar product numbers among the items. As I note on this Dualmatic/Husky/Selectro post, Husky went from advertising a wide array of products in 1966 to just a few products by December of 1967. Hopefully, at some point, someone can confirm whether my theory is correct or can provide testimony to something else (or nothing) happening.
In the 1967 ad below, note have many few products are shown vs. the 1966 ad.
October 1967 Ad for Selectro and Husky products under the 4Wheel Equipment Center. The ad indicates that the number of top type Husky was selling had been dropped to one basic model.
As Husky faded away during the early 1970s, James and Marj Stengel continued building the Bestop Manufacturing Company.
The Bikini Top:
In 1978, James filed a second patent, this time for a product that we know as the “Bikini Top”. I didn’t realize the Bestop had the patent for this:
Husky Tops Private Labeled for Sears, Roebuck & Co?
One curious thing I discovered is that the images of the Husky top in 1966 look very similar to the soft tops that appear in the 1972 Sears catalog. This shouldn’t be too surprising, as Sears private labeled the Husky & Dualmatic hubs, so I suspect Sears private labeled tops and other items as well.
Company Changes:
According to Marj Stengel’s obituary, the couple retired from Bestop in 1980. It appears they sold Bestop in 1981 to Wynn Industries. In 1983, Wynn trademarked and combined Bestop with Dualmatic (acquired circa 1974) to form BD BestopDualmatic. Along the way, BestopDualmatic released a set of hubs with a design different than past hubs called EasyLok and BestLok: http://www.ewillys.com/2018/08/29/bestlok-and-easylok-hubs/
At some point, BestopDualmatic reverted back to Bestop, the name it continues to function under today. Here’s a 1989 brochure cover:
Stengels After Bestop:
Meanwhile, after the Stengel’s retired from Bestop, they started traveling in their RV. During the summer, they helped facilitate the Yesteryear Farm Show in Longmont, Colorado. One article noted that Jim’s pride and joy was a 2-ton, one-cylinder engine that he and his brother rescued from the foothills of Boulder. Jim passed on in 2005. In 2013, Marj put their tractor collection and other items up for auction.
Marj passed away a few years later in 2016. Apparently, they really loved their Gibson tractors, as they engraved memories of an early Gibson onto their gravestone for posterity:

FILE CREDIT: Find A Grave: https://www.findagrave.com/memorial/164190737/stengel













I would guess the BesTop was a trade Title/Brand but I don’t see any of the circled R “registered” icon next to their usage. Also, “Convertible” is used and again I’m guessing because one can take on and off the canvas top, but for the DJ enthusiasts, “Convertible” implies a “Fold Down Top” unique in offering to the DJs, or as near as we can find, is ‘unique’ to DJs.
Thanks Dave, I enjoyed reading your article on Bestop. I bought a white Bestop for a 46 Willys in 1976. At the time I remember being impressed with the windshield channel. I never stopped to consider the history and the people behind something as simple as a soft top for a Jeep. One thing I regret in life is being so dumb and self absorbed as a teenager.
Dave, have you spoken with Jim Chick? He worked for Bestop from 2007 through 2017. He is currently the COO for Daystar. https://www.linkedin.com/in/jim-chick-0605867/
Whitco was the top Jeep sold. I always thought it was a better top and fit.
Steve: I believe the use of ‘convertible’ has to do with the ability to drop the top and the bars onto the back of the jeep, same as could be done with the convertible DJ. Dad had a Bestop on his CJ-5 and that’s what we used to do sometimes, rather than removing the whole top.
Chuck: I think being ‘dumb and self absorbed’ is the very definition of being a teenager? I don’t even mean it in a bad way; it’s just the way teens push away the child-self, along with the parents, to figure out their own identity, which usually means doing dumb stuff and making mistakes. Or, maybe that was just me???
Dave: Thanks for the link. No, I hadn’t. I’ll contact him and see if he can make some suggestions.
Ranger Bob: I’ve never tried a Whitco top. My Kayline seems well made.
Steve: Regarding the trademark, the company successfully registered the trademark, but not until November of 1969. So, that explains why it wasn’t on the 1968 brochure.
The company still didn’t have the “R” on the mid-1970 ads in Four Wheeler Magazine (probably just old ad art), but by mid-1971, the Bestop name did include the R in its Four Wheeler ads.
Dave,
Thank you for writing this and similar articles. I really appreciate the insight for all of the Jeep-related histories you investigate. It must take a ton of time.
Thanks again!
I was a dealer for Husky from 1976 to 1982. Initia tried their tops but found Kayline a much higher quality and fitting top. Do you have any history of after about 1986 I believe the gentleman who owned Kayline got into tax difficulties with the IRS
Still have a Bestop on my 48 CJ2A that was bought in 1975, still looks new, 44 years old, no complaints.
My name is Joe Stengel, one of the sons of James Stengel. Thank you for this post. I don’t have a lot to add, except that I can tell you that dad was sole owner of Bestop when he applied for those patents. He bought the company from Bradley in the early sixties (I don’t know the exact year), but those innovations were his and Tom Swanson.
Hi Joseph,
Thanks for the additional details. So much of this and similar vintage Jeep histories are little known, so every bit of info helps!
Thanks, Dave
Do you have any info of a relationship between Husky Products, Bestop, and Kayline Mfg?
John,
If you are asking me, I don’t. Here’s some info on jeep-related companies in Colorado:
1. http://www.ewillys.com/2017/02/12/free-lock-hubs/
2. http://www.ewillys.com/2017/04/09/thor-products-white-automotive-whitco/
3. http://www.ewillys.com/2019/07/08/selectro-husky-dualmatic-overview/
All that history needs more work. I need to return to Denver and spend sometime at the local historical societies in Longmont, Denver, and Colorado Springs.
– Dave
RE: Bestop – I wish I could provide more definitive info, but it seems as we all get older, the memories are not as clear. I do know that dad spent a great deal of time trying to come up with a hub that was automatic. Dualmatic had the market on hubs, but dad knew if he could come up with a way that would prevent people from having to leave the cab (to twist the hubs on the front wheels), he would have a winner. Unfortunately, that was not to be. But, as a youngster (I’m guessing mid-teens), it always seemed pretty exciting.
Kayline was always the “adversary”. Dad figured (and rightfully so) that his design was superior to Kayline’s, but they kicked his ass for a long time.
It get’s pretty foggy from there. I grew up and moved on. Although I worked in the Bestop plant for a few years, my brother was there for much longer. I will try to connect him to this thread to see what he remembers (keeping in mind that he is WAY older than I).
Hi Joseph, I fixed the “Adversary” spell check issue. I have the same think happen to me all the time, sigh.
Do you know how WhitCo (aka White Manufacturing) figured into the Kayline or Bestop competition?
Warn created an automatic hub, but according to Hugo Vidal, who worked with Arthur Warn, they had a high failure rate to the point that they were discontinued.
Thor from Colorado Springs created an electronic hub that could be controlled from the Dash, but I don’t know how rugged they were (not many around).
Some of my nagging question: First, were the Free-Lock assets (in Denver) absorbed by Dualmatic (in Longmont)? At only point it appears Dualmatic created some selector-type hubs with the Free-Lock brand (but did so almost a decade after the Free-Lock brand was discontinued).
Secondly, were Husky and Free-Lock related (both started in Denver)?
And, thirdly, why did the president of Free-Lock leave Denver to go to the midwest and start another hub company (Cutlas)?
– Dave