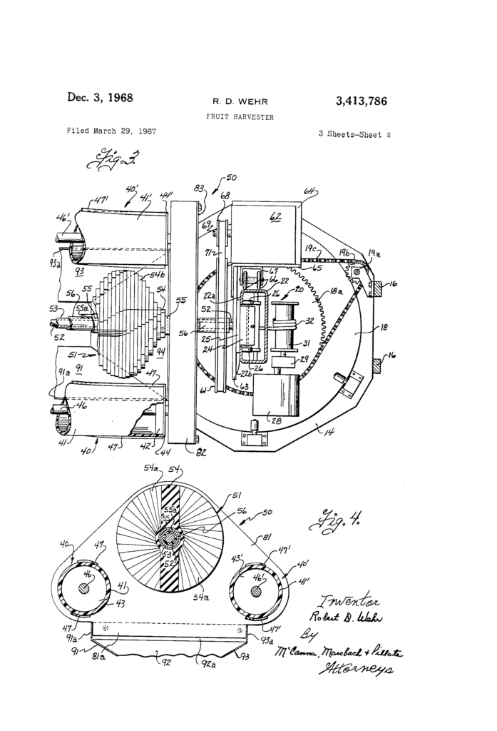
An article from February 10, 1967, in the Fort Myers’ News Press highlighted the creation of a Fruit Harvester by local inventor Robert Wehr. The device could be mounted to a variety of vehicles, but in this case is pictured mounted on a CJ-5. I was unable to find another other articles about this invention.
Here’s in the related patent: https://patents.google.com/patent/US3413786





