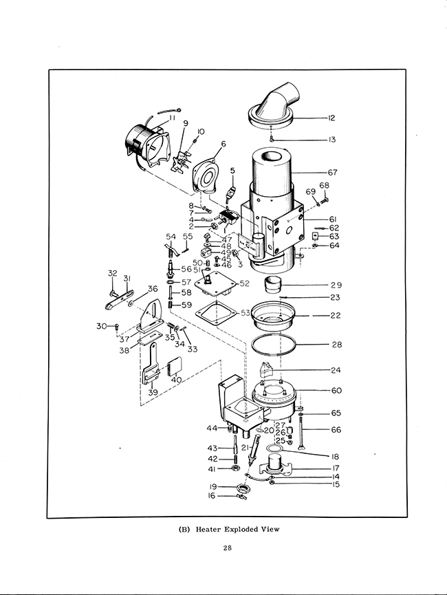
I found this M-38A1 Installation Instructions Conversion Power Plant Heater Kit 32 page manual on eBay. It seems a well done and detailed look at how to install the heater kit. Hopefully, someone can use the information.
emailNeed to contact me and don't have my email? Click on email button.

Welcome to eWillys.com, a website for vintage jeep enthusiasts. I update this website nearly every day with jeep deals, jeep history, interesting reader projects, jeep related info, and more.
These quick searches can help you find things on eBay. People list in the wrong categories all the time, so don't be surprised to see brochures in the parts area for example. This section used to be split into jeeps, parts and other categories, but recent changes to eBay will require this information to be recoded.
The links to posts below show jeeps grouped by models, condition, and other ways. Some of these jeeps are for sale and others have been sold. If you are unsure whether a vehicle is still for sale or not, email me at d [at] ewillys.com for more info.
There are plenty of interesting, unusual, historic and surprising stories related to Jeeps and their owners. In addition, some of these features have nothing to do with jeeps. This link will display all featured stories starting from the latest.
Looking for parts and not sure where to go? There are a variety of large and small new and used parts sellers both online and offline.
Importantly, the allure of buying a project jeep can be romantic. The reality of restoring a jeep can be quite different, expensive and overwhelming without the right tools and resources. So, tread carefully when purchasing a "project". If you have any concerns about buying a vintage jeep, or run across a scam, feel free to contact me for help, comments or concerns .
I found this M-38A1 Installation Instructions Conversion Power Plant Heater Kit 32 page manual on eBay. It seems a well done and detailed look at how to install the heater kit. Hopefully, someone can use the information.
Copyright © 2008-2017 eWillys. All rights reserved.
Powered by Wordpress, theme based on the Simple Grid Theme.
Some of the Daimler Chrysler, Inc., trademarks including Jeep®.
eWillys is hosted by Netfire






























Wow that’s a fairly involved installation. I can’t imagine there are too many working examples out there.
Don’t be afraid to give us this kind of information. Hard to find and I find it interesting.
When my dad bought the M-38 I now own it had one of these engine/battery heaters installed. The main heater unit occupied space on the passenger side footwell area and drastically reduced the room available for passengers wearing boots. Shortly after I assumed ownership I removed the cold weather heater system to make regular maintenance easier. When the local military surplus yard closed in 2013 there were at least 10 brand new engine/battery heater kits still in stock.