Documents Research Archives

To Top

Sold · Willys Jeep Painted Service Sign $500 Bellwood, PA ***SOLD***

• CATEGORIES: Documents • TAGS: This site contains affiliate links for which I may be compensated.

Sold · Willys Jeep Painted Service Sign
$500 Bellwood, PA ***SOLD***

Andy’s Picks

***SOLD*** Willys Jeep Sales and Service Sign

Link To Ad

INFORMATION FROM SELLER:

Very nice painted sign, painted both sides. 48″ x 30″ Back side has small chip. This is for a friend not on Facebook. Will not answer “Is it available?” Pick up only out side of Bellwood Pa 16617

[fb_button]
 
To Top

JEEPSTER SERVICE MANUAL $50 Union, NJ

• CATEGORIES: Documents • TAGS: This site contains affiliate links for which I may be compensated.

JEEPSTER SERVICE MANUAL $50 Union, NJ

Neat piece of Willys History here, might not be $50 cool it’s a re-pop book so it says, but overall the sticker from The Jeepsterman is really the selling point here for me. It was before my time but I have heard so many good stories about Morris and his Willys knowledge and parts operation, he really knew these parts and pieces in and out and you better have a part number for what you wanted was the take away I always heard. Mixed reviews on Customer Service skills, but I know 2 really good friends who always had great experience getting materials and parts from him. My Wagon has some parts from him when the PO built it out in early 90’s

Information from seller:

SOFT COVER SERVICE MANUAL

https://www.facebook.com/share/1A741FefMr/

[fb_button]
 
To Top

The K And K Mower or The Jeep Mower Bar

• CATEGORIES: Advertising & Brochures, Documents, Features • TAGS: This site contains affiliate links for which I may be compensated.

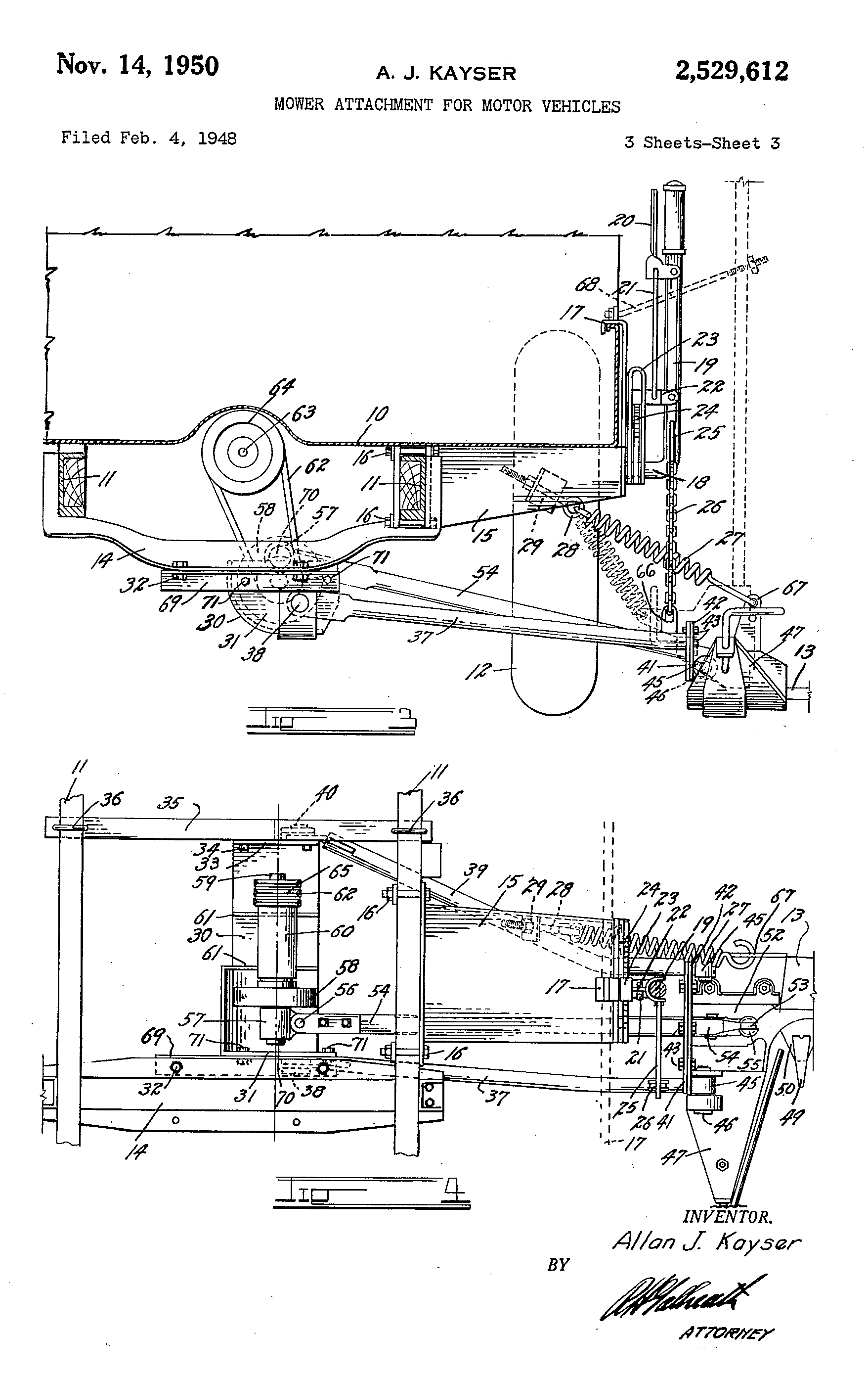
UPDATE: I’d never seen this brochure before finding it on eBay. This is part of what was a vast vintage jeep doc and toy collection in New England. I’ve bought a few cool things from him. 

As for a date on this four-page brochure, I’d say, given the patent date of 1948, that this brochure might have also been printed in 1948, especially given the CJ-2A. My guess is that Mr. Keyser didn’t make enough money to warrant any future reproductions of it. But, that’s only a guess.

While I’ve always called this a K and K mower (that’s the manufacturer), the brochure and data tag describes it as a Jeep Mower Bar (see pics at very bottom).

1948-k-and-k-mower-brochure1-lores 1948-k-and-k-mower-brochure2-lores 1948-k-and-k-mower-brochure3-lores

=============================

ORIGINALLY PUBLISHED MAY 17, 2019: In February of 1948 Allan Keyser filed a patent for a side mower. It appears this became the design for the K And K Manufacturing Company’s Mower as seen in the brochures at bottom. You can view other early mowing apparatuses here. Interesting that this came out of Colorado. I wouldn’t have guessed it.

“This invention relates to a mower attachment for the presently popular small, four-wheel drive, automotive vehicles popularly known as jeeps, and has for its principal object the provision of means whereby a mower bar can be quickly and easily attached to, or detached from, the vehicle so that it will be easily visible and easily controlled by the driver of the vehicle.

Another object of the invention is to provide highly efficient means whereby the angle of attack of a mower bar may be adjusted to suit the desires of the user and the requirements of the particular crop being harvested.”

1948-02-04-kayser-mower-patent-k-and-k1 1948-02-04-kayser-mower-patent-k-and-k2

Continue reading

[fb_button]
 
To Top

21 Willys-Overland Sales Receipts from 1950-51 on eBay

• CATEGORIES: Documents, Features This site contains affiliate links for which I may be compensated.

The price is $99 or Best Offer. Given these include serial numbers, maybe one or more of these vehicles is still around?

View all the information on eBay

“Original 1950 & 1951 Jeep Willys Sales Orders Reciepts Lot Of 21 w/ VIN NUMBERS.”

1950-sales-receipts-4

This first receipt is for a 1951 CJ-3A #GB1-13591, motor #3J-63567.

1950-sales-receipts-6

This next one is for a 1950 Willys Station Wagon 4-73 #473SW-16751 with motor #P19118. Looking at the VIN records for 1950, it appears this would have been a sedan delivery model. Note that payment included the trade-in of a 1947 station wagon.

1950-sales-receipts-7

This receipt is for a 1950 station wagon #673SW-12848 and motor #1S-14109. The receipt includes the trade-in of a 1940 Chevy station wagon.

1950-sales-receipts-8

This receipt is for a 1951 CJ-3A #GB1-11975 and motor #3J-62439. The deal included the trade-in of a 1947 CJ-2A.

1950-sales-receipts-9

[fb_button]
 
To Top

Vintage Jeep Posters Middletown, CT $20-$800

• CATEGORIES: Advertising & Brochures, Documents, Features This site contains affiliate links for which I may be compensated.

UPDATE: Still Available.

(05/05/2023) Bill shared this link to the seller of a variety of posters. I’ve bought some of his rare items off of eBay. I’d spring for the 5 Great Willys Values poster if it wasn’t ripped. I’ve only run across one other.

https://hartford.craigslist.org/atq/d/middletown-vintage-original-ww2-and/7724796927.html

middletown-parts-poster middletown-stamp-poster middletown-tomb-raider-poster middletown-rubber-poster middletown-5-great-willys-poster

“WORLD WAR 2 ORIGINAL POSTERS, AND MANY WILLYS JEEP RELATED POSTERS.

PRICES VARIED ACCORDING TO AGE, SIZE, AND CONTENT.

ALL POSTERS AND RELATED JEEP ITEMS ARE ORIGINALS AND IN GOOD SHAPE.

SOME ARE FRAMED AND SOME ARE NOT.

SOME OF THE SIZES OF THE ITEMS ARE LISTING IN THE PHOTOS ON A PIECE OF PAPER ON THE ITEM.

PRICES RANGE FROM $800.00 TO $20.00

WHEN RESPONDING PLEASE INCLUDE A PHONE NUMBER TO DISCUSS POSTERS OR RESPONSE WILL BE DELETED.”

[fb_button]
 
To Top

1973? Welcome Brochure From A.M. General

• CATEGORIES: Advertising & Brochures, Documents, Features This site contains affiliate links for which I may be compensated.

The latest date published in this brochure is April of 1973, so my guess is that this was printed in mid-to-late 1973. It covers the history, mission, facilities, models, executive staff and other details. These aren’t he best scans, but they’d work for recording this bit of history.

1973-am-general-welcome-brochure01 1973-am-general-welcome-brochure02 1973-am-general-welcome-brochure03 1973-am-general-welcome-brochure04 1973-am-general-welcome-brochure05

Continue reading

[fb_button]