UPDATE IV: Well how about this …. There was an early Huffman hub that didn’t have the fancy ‘weapon-looking’ topper (as seen in the pics below). Instead, a cylindrical key was supplied to help select whether the hub was engaged or not. This ad is from the September 1962 issue of Four Wheeler Magazine.
======================
UPDATE III (May 17, 2020): In September of 1964 the Huffman Hub company posted this full-page ad in Four Wheeler Magazine —
================================
(UPDATE II: Finally got a look at the 1967 article about Floyd Huffman that appeared in the August 20, 1967, issue of the Albuquerque Journal (pg 28):


UPDATE: Dan shared pics of a set he just bought from Paul:
Post originally Published April 8, 2017:

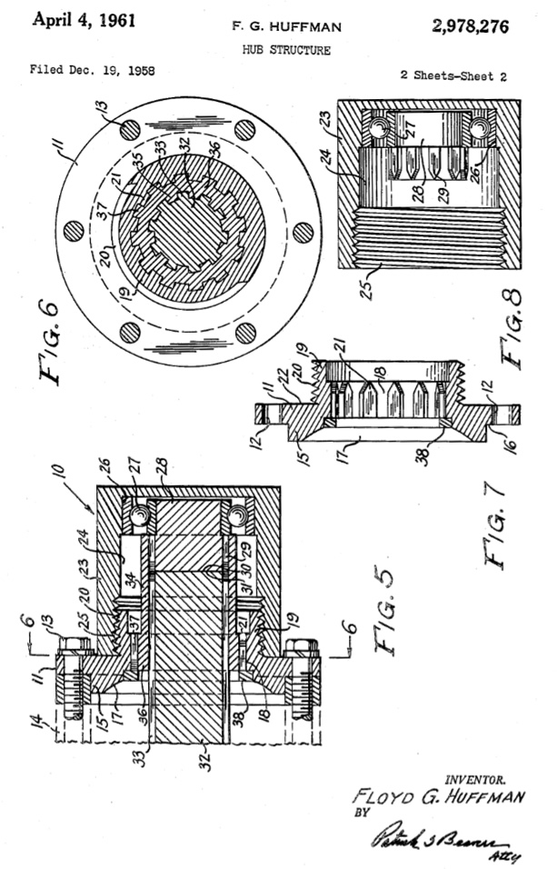
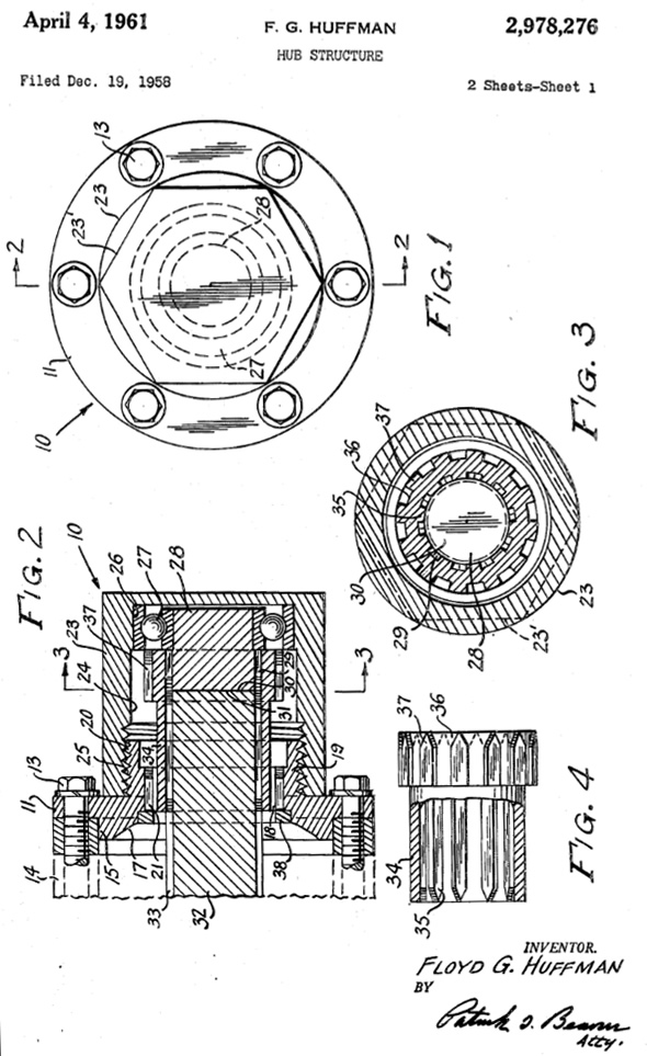
In December of 1958, Floyd G. Huffman filed a patent for a new type of hub structure. His patent, designed to “provide a hub structure that can be simply and quickly manually operated to release the front wheels so that they will rotate freely on the axles without the necessity of having the gears etc. rotate simultaneously when the front wheel drive has been disengaged” was finally approved in April of 1961.
Later that year, in October of 1961, he filed incorporation papers for the Huffman Hub Company. He was a one-man show and enjoyed his independence. One of the hub’s unique features was a weapon-like piece of steel that sat atop the hub (but not evident not he patent).
Between August 1964 and May of 1965, Huffman advertised in Four Wheel Magazine. Perhaps by the summer of 1965 he’d built up enough dealers (150 in eight states), that he didn’t see the point of advertising? That isn’t clear.
According the 1967 article at the top of this post, when he needed money, he hit the road, obtaining hub orders in New Mexico, Arizona, Texas, California, Oregon, Idaho, Utah and Colorado. Then, he’d return to his home in Albuquerque and, with the help of his granddaugther, would machine, assemble and ship the hubs. He claimed he was making 100 hubs a month and he saw great potential in reaching 1000 hubs a month.
I could find no more information on Huffman and his hubs after 1967, but I suspect the financial realities of operating a one man show proved impractical and he shut down the business.








I haven’t seen this type yet. They look like wheel spinners
Yes, but deadly looking. I think he was a former staffer/inventor for Her Majesty’s Secret Service, code name “P”. Then let go, hence “Q”. How do you feller’s think that thing is attached? Looks like it was the tool to take the “something” “OFF” no “ON”, no hammer direction indicator, to further confuse those us less brilliant. I can see it now, a couple guys about to depart the tar top for the first time since having them installed….. I’m telling you Slim that thar whatchamacallit is not for turning “ON” four wheeling! So was it full time freewheeling with it “ON” until taking it “OFF”? Oohh my head hurts….Huffman, Floyd G. Huffman.
I have a set of these hubs. The outer piece (the chrome “wings”) unscrews. Then you pull off the inner piece and reverse it. Then you screw the cap back on. Very simple. You may get grease on your fingers when you reverse the inner piece. The caps are marked left and right because of the thread direction (like the lug nuts)
Thanks Paul ever have trouble with during off reading hitting obstacles?
Paul,
I won’t believe you have these until you send me a couple photos … hint hint 🙂
– Dave
I agree Dave, I was also wondering about the access to certain lug nuts!? Also, is the Dualmatic made Selecto or vice versa? I’ll send photos.
Selectro was marketed by Husky Products, which was/became a subsidiary of Dualmatic. However, Dualmatic did “private brand” the hubs, as did other organizations, which just adds to the confusion.
2unanswered questions I have … did Dualmatic and Husky begin as separate companies or were they sister companies, designed to fund and market different products? And, was the Selectro a derivation of the Thor hubs, the Free Lock hubs, or neither?
Must have never driven through the brush country
I lived in Albuquerque and had a set on my old CJ3A in 1968. Worked well, very simple and nothing to mess-up inside, like the Dual-matics had. If the insert (the sleeve that you flipped over to select between free and locked) was bound tightly you would use the “hook” of the spinner to grab it by a hole and pry it out. Took about 30 seconds to change from free to lock. Toughest part was starting the spinner back in place, had a super fine thread that could cross-thread easily. Back then, it was rumored that the US military was buying them for their old Jeeps to help keep front-end wear down. Gotta remember, back in those days (mostly before), lock-out hubs were optional on 4x4s. Vehicles came with solid hubs so the front drive train wore out quickly, even when the transfer case was not in 4WD.
Thanks for the insights Yooper-Al! I’m still watching to see a set of these hit eBay or Craigslist. I’ve also yet to see them on a jeep for sale.
I have had Dual-matics on on my 1948 CJ-2A since 1957 and on my 1952 CJ-3A without any problems. My 1952 M-38 does not have free wheeling hubs and never have had trouble with transfer case with 39,000 miles. I went through the case to replace seals and reline the emergency brake seven years ago. That is all that needed to be done.