UPDATE 3: Added an Automatic hub example shared by Seth (at bottom)
=========================
Originally Posted April 28th, 2017:
UPDATE 2: Niels shared a photo of his rare Cutlas key that can be used to spin the screws of the Power-Lock Hub.
UPDATE: 1) Well, it seems I forgot to read through this and edit it (I murdered the title for example) 2) The ending of the post has changed, thanks to Paul spotting an ad in the 1976 issue of Four Wheeler Magazine.

This is a Cutlas brochure for the company’s first hub, the Power-Lock.
In January of 1958, James Russell Lloyd, who up to that point had been president of the Free-Lock Company in Denver, filed a patent for a new type of hub on behalf of a company called the Cutlas Tool and Manufacturing Company out of Lyons, Illinois. At the time, Lloyd was still based in Denver (according to the patent filing), so what his relationship was with the Cutlas and Free-Lock companies at that time isn’t clear.
Unlike the Free-Lock hubs, which relied on a rotating center piece to engage and disengage the hubs, the Cutlas hub had two rotating screws that had to be spun to engage and disengage the hubs.
In May of 1958, Lloyd copyrighted the term Power-Lock Free Wheeling Hub, a name which the hubs would be known as from then onward. Here are some photos:

An alternative exploded view from the CJ-2A Page Forum.
Though the photo doesn’t show it, this aluminum key is inscribed with “Cutlas” and fits onto a key chain. It’s an alternative to the bar shown above.
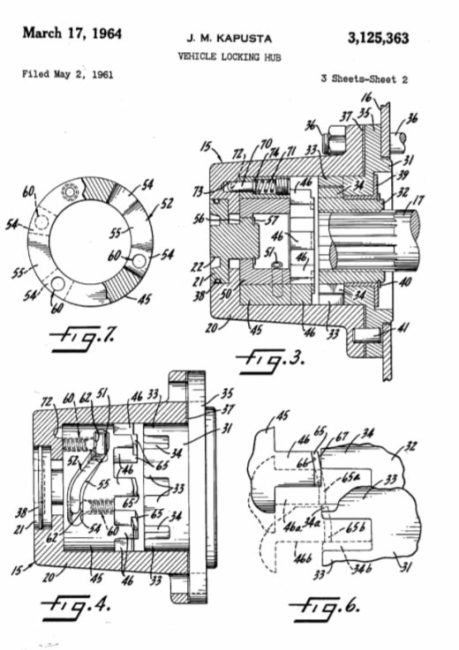
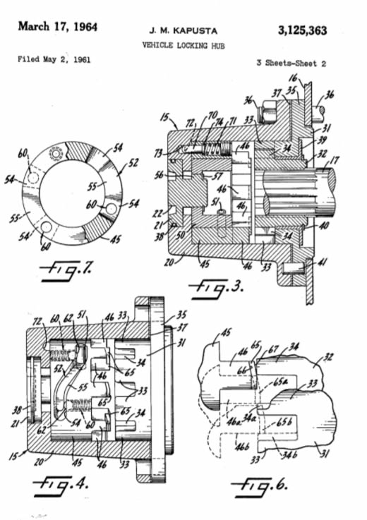
In May of 1961, John Kapusta filed for two Cutlas patents a couple weeks apart. First the company filed this patent, an attempt to make hubs easier to use. I cannot find evidence that the company manufactured this one. The goal of the new Cutlas hub was to eliminate the jamming that sometimes kept the hubs from engaging or disengaging, making it easier to operate.
Next, Cutlas patented a more familiar hub, one with a large rotating disc on the front. The principle goal of this design was to develop a hub that required no tools to twist. It almost seems Cutlas developed the hub above, then altered it slightly and refiled the second patent.
What I believe were early versions of the hub didn’t have the slot in them as this brochure shows.

At some point, the slot was added.
Some time during the early to mid 1960s Cutlas introduced wheel covers (see both pages here).
For years Cutlas Tool and Manufacturing advertised their Power-Lock and Selective Drive hubs in Four Wheeler Magazine. Then in October of 1967, the company halted advertising briefly. Two months later, in the November 1967 issue, the company was advertising the same hubs again, but this time under a new name, Cutlas Gear and Manufacturing, and a new location, Vinton, Iowa. I could not find an explanation for the move nor the name change.
During the Spring of 1969, the company introduced a new hub it called the Bulldog, which may have been a slight modification or design change in the selective drive hubs. There seems to be no patent that corresponded with the new design.

Note that the literature does not seem to mention the “Bulldog” name. The name also didn’t appear early on in Four Wheel ads, so it might have been added later.
A “Bulldog” hub disassembled. It looks to be a pretty simple device.

Cutlas Bulldog Hub from the CJ-3A Page.
By 1971, Cutlas had ceased advertising in Four Wheeler Magazine. In 1972 Cutlas applied for a new patent on a hub that would be automatic.
After publishing this, Paul Ferrari sent an ad from the 1976 issue of Four Wheeler magazine. It shows that Cutlas was advertising both the selective hub and their new automatic hub.
Here is an image of a Cutlas hub shared thanks to Seth:
How much longer the Cutlas company remained active isn’t clear at this point.

















I have these on Gov’nor Rattles, 62 CJ5. Very simple. If anyone has a decal like the one pictured I need one
Hi Bill,
Is this what you are looking for? http://www.ebay.com/itm/DATA-PLATE-TAG-SET-POWER-LOCK-HUB-CUTLAS-TOOL-CJ5-CJ6-CJ7-STATION-WAGON-PICK-UP-/252422340822?hash=item3ac58b40d6:g:j90AAOSwtJZXXUz9&vxp=mtr
I’ve updated the ending of the post (and generally re-edited it).
The first hub with the 2 screws seems very simple to install because of very few parts to screw with one’s mind. I wonder if it was hard to get the rotating lobes aligned with the gear wheel?
David……good stuff as usual. The original 1953 CJ3B that I purchased from a ranch in Wyoming in 2014 has an original set of Cutlas front hubs like the first ones in the pictures with the two slotted engagement pins. Just out of curiosity, I pulled them off and looked at the inner workings. They looked fairly simple and sturdy. They were still well greased, so I re-installed them and tried engaging and disengaging them. I do not have the tool shown in the picture, so I found an old stubby wide bladed heavy screwdriver with a big wooden handle (very period correct for 1953 !!) and it fits the slot perfectly. Again, they seem easy to engage with the screwdriver setup I have.
As an Iowa native, I am curious to talk to some of the folks back around Vinton to see what this company may have been about,
Thanks again for all you do.
Allan J. Knepper
Pewaukee, Wisconsin
If you guys are coming to the reunion, look me up. I have a whole bunch of different hubs for sale that I have run into lately, including Cutlas, Warn, Sears, etc.
I have the original cutlass hubs with the two screws on my 1954 CJ-3B. Thanks for all the information on these, I always kind of wondered about them.
My 61 CJ3B has the Cutlass twin screw hubs aswell. It also came with an aluminum key shaped with a screw driver tip which is stamped “Cutlass”. It fits on the key ring. I’d post a pic but the Willy’s is kept up at my brothers house in Idaho.
Personally, I find these a pain to engage and disengage compared to the warn hub units.
Niels, no rush on it. I can always add a pic of it at a later date. – Dave
The photo of Niels’ key has been posted. Thanks Niels!
Still running the power lock hubs on my 59 CJ-5. They still work great. Wish I had the key ring tool. I have a big craftsman screwdriver that I use to turn them.. 🙂
@Desert Jim,
LOL. +1. I also use a big craftsman screwdriver as it gives much better leverage than the key (although the key is a cool item).
Yea, I also converted my big short Craftsmanship flat to a hub tool – ground it so it fits snug
I have a set of the bulldog Cutlass Lockers, but they don’t have a spring in them. They were on jeep roller I bought and I was going to use them because they were so cool, but without the springs I guess they wont work properly.
Hi Tom,
I don’t know of any springs, but maybe a spring resource on the web could help locate one? Or, maybe a ranch and home type of place? Sometimes they have a wide variety of springs.
– Dave
Found the spring inside the hubs, didnt have the fully apart. Where could I get some asm procedures. Thanks again.
Tom,
Good question. I don’t have any. I can ask readers.
– Dave
A 1955 series one 107 land rover has just found me and iam know involved in a complete knock down restoration. I’ve just found this sight an wounder if anyone can let me know if the polyurethane Sleave is available anywhere. This is the only part after 60 years that’s showing signs of age.
Cheers Phil.
Hi Philip,
Are you referring to the Power-Lock Hubs part number WI-114 from this image http://www.ewillys.com/wp-content/uploads2/2017/04/cutlas-power-lock-hubs.jpg?
I don’t know of anyone with the available part, but since you have the part, I would get the dimensions then see if you can track down a good-enough replacement part on a site like this https://www.mcmaster.com or this https://www.grainger.com.
I hope that helps,
– Dave
Hello Dave.
Thank you for your informative reply.WI – 114 is the part iam after. I shall hunt through those sights.
Cheers Phil.
Try and find someone with a 3-D printer and have them make new ones.
Hey guys my 55 Willy’s pickup had the non slotted Cutlas hubs I had that truck for 20 years wish I never sold that one but I do have a set of the power lock hubs in my private parts stash I’ve been working on Willy’s trucks since the late 70,s currently working on a 1970 J 4000 with a 350 Buick I enjoy reading all of your thoughts and input
Dave, thanks for the note and glad you enjoy the site! Good luck on the J 4000.
I inherited my dad’s 57 p.u. back in ’85. We use it sparingly on the ranch in Washington state. While plowing snow on Sunday I blew the housing; knocking a hole in the pin area. Investigation said it was a Cutlass, and Ebay was showing just one, and I snatched it up.
M.K. Mallon
Entiat Valley, WA.
Hi Mike,
Sorry about the moderation issue. I had a spammer who was typing some awful things into comments, so I had to implement the comment moderation system.
That’s amazing you found a single Cutlas hub! That’s a rarity!
I run eWillys just south of you in Prosser, WA.
– Dave