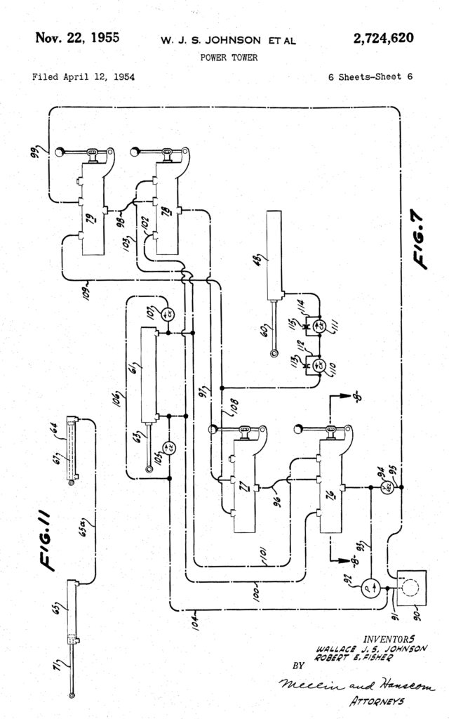
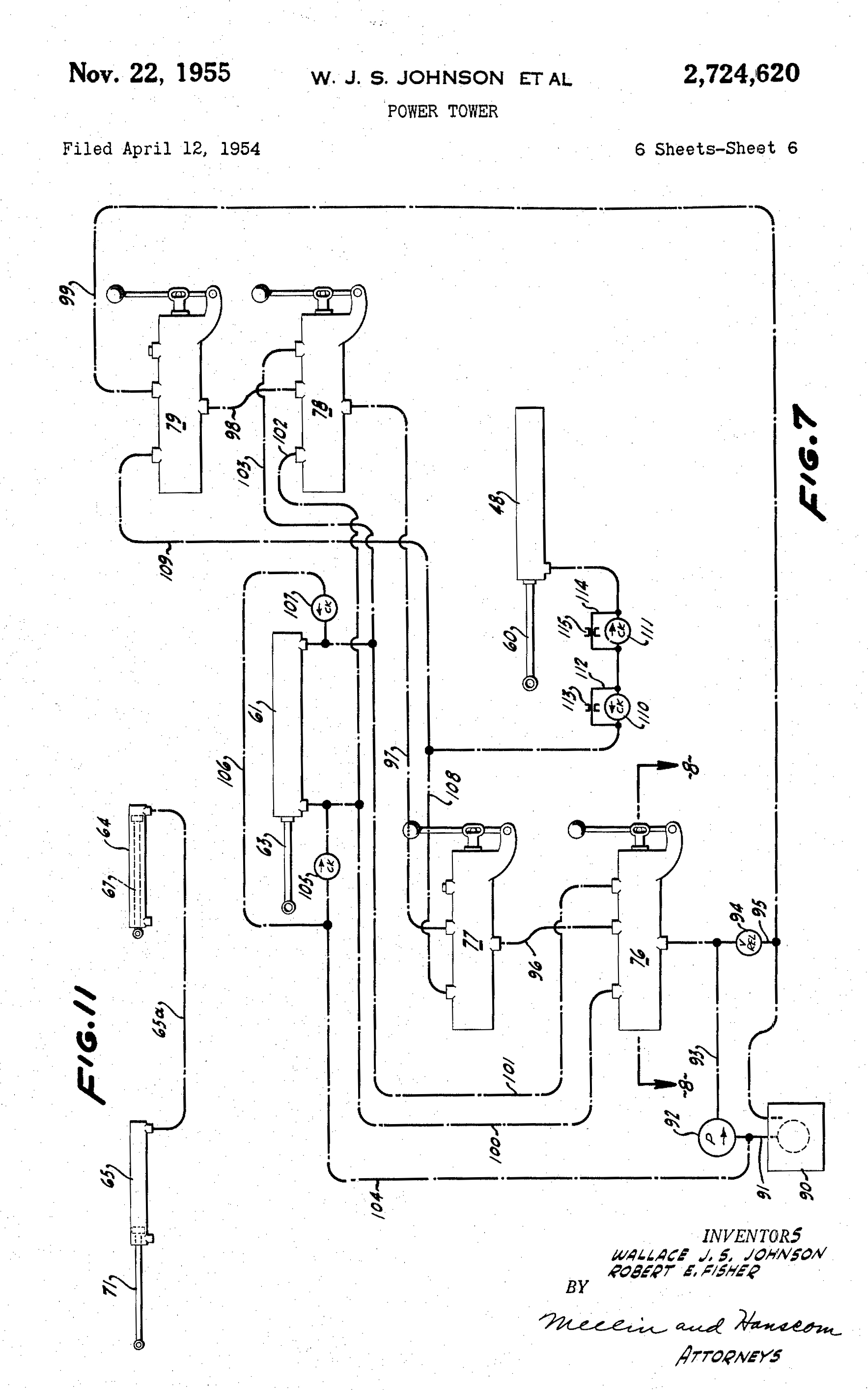
This April 12, 1954, Power Tower patent filing by Wallace Johnson and Robert Fisher was said to be designed for other vehicles besides the jeep, but given it’s length, it’s hard to imagine it would work on anything that wasn’t flat like the top of the jeep.
Here’s a description: The present invention relates to a power tower for use by workmen employed as painters, electrical fixture repairrnen, aircraft maintenance men, window washers, and a multitude of similar occupations wherein it is necessary toperform a task at some distance above the ground and thus ordinarily require the use of ladders or scaffolding of some type. More particularly, the invention relates to a workmans platform supported by a collapsible tower structure which in turn is mounted on a wheeled vehicle.







Looks like once you put it on you’ll never open your hood again. Also looks like a two man deal, one in basket and a driver.
This would tip over without some kind of outriggers. I’ve owned a few man lifts. The one that I had that was the size of a CJ weighed in at 14k pounds, and had no outriggers. The 2800 pound towable, also the width of a CJ, required 4 outriggers that extended 4′ out from the unit. When I once demonstrated it connected to the truck’s tow hitch and didn’t bother to put out the outriggers, it literally lifted the rear of the F150 off the ground even without someone in the basket!
hahaha , this is great , I specialize in aerial bucket lifts , the classics , telsta t-40s , etc , and this is ludicrous , little tiny jeepney , 48″ track , hahahaha , i’m calling osha right now , the lifts i repair are on big trucks , like f-800’s etc , though we have had ford e-350 vans with buckets , i do have a toy jeep here somewhere , its a fc-170 with an aerial bucket lift , looks like it was made overseas , I’ve never seen a full size fc with a lift on it …ps , the name ” power tower ” was patented by NICOLA TESLA , then of course we have the infamous sf east bay rock band TOWER OF POWER , ciao ..
Count me out, I don’t think I’d get into that thing!